史上最全的光模块介绍,看这一篇就够了!

光模块的工作原理

图1-1 光模块工作原理图
光模块的外观结构
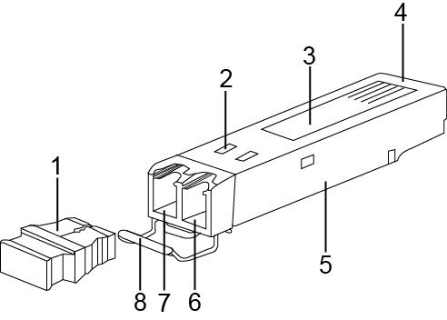
光模块的种类多种多样,外观结构也不尽相同,但是其基本组成结构都包含以下几部分,如图 光模块的外观结构(以SFP封装举例说明)所示。

图1-2 光模块的外观结构(以SFP封装举例说明)
表1-1 光模块各个结构的说明
| 结构 | 说明 |
| 1.防尘帽 | 保护光纤接头、光纤适配器、光模块的光接口以及其他设备的端口不受外部环境污染和外力损坏。 |
| 2.裙片 | 用于保证光模块和设备光接口之间良好的搭接,只在SFP封装的光模块上存在。 |
| 3.标签 | 用于标识光模块的关键参数及厂家信息等。 |
| 4.接头 | 用于光模块和单板之间的连接,传输信号,给光模块供电等。 |
| 5.壳体 | 保护内部元器件,主要有1*9外壳和SFP外壳两种。 |
| 6.接收接口(Rx) | 光纤接收接口。 |
| 7.发送接口(Tx) | 光纤发送接口。 |
| 8.拉手扣 | 用于拔插光模块,且为了辨认方便,不同波段所对应的拉手扣的颜色也是不一样的。 |
光模块有哪些关键性能指标
如何衡量光模块的性能指标呢?我们可以从以下几个方面来读懂光模块的性能指标。
平均发射光功率
平均发射光功率是指光模块在正常工作条件下发射端光源输出的光功率,可以理解为光的强度。发射光功率和所发送的数据信号中“1”占的比例相关,“1”越多,光功率也越大。当发送机发送伪随机序列信号时,“1”和“0”大致各占一半,这时测试得到的功率就是平均发射光功率,单位为W或mW或dBm。其中W或mW为线性单位,dBm为对数单位。在通信中,我们通常使用dBm来表示光功率。
消光比
消光比是指全调制条件下激光器在发射全“1”码时的平均光功率与全“0”码时发射的平均光功率比值的最小值,单位为dB。如图1-3所示,我们在将电信号转换为光信号时,是由光模块发射部分的激光器按照输入的电信号的码率来转换成光信号的。全“1”码时的平均光功率即表示激光器发光的平均功率,全“0”码时的平均光功率即表示激光器不发光的平均功率,消光比即表征0、1信号的区别能力,因此消光比可以看做一种激光器运行效率的衡量。消光比典型的最小值范围为8.2dB到10dB。

图1-3激光器工作示意图
光信号的中心波长
在发射光谱中,连接50℅最大幅度值线段的中点所对应的波长。不同种类的激光器或同一种类的两个激光器,由于工艺、生产等原因都会有中心波长的差异,即使同一激光器在不同条件下也可能会有不同的中心波长。一般,光器件和光模块的制造商,提供给用户一个参数,即中心波长(如850nm),这个参数一般会是一个范围。目前常用的光模块的中心波长主要有三种:850nm 波段、1310nm 波段以及1550nm 波段。
为什么定义在这三个波段呢?这与光信号的传输介质光纤损耗有关。通过不断研究实验,人们发现光纤损耗通常随波长加长而减小,850nm损耗较少,900 ~ 1300nm损耗又变高了;而1310nm又变低, 1550nm损耗最低,1650nm以上的损耗趋向加大。所以850nm就是所谓的短波长窗口,1310nm 和1550nm就是长波长窗口。
过载光功率
又称饱和光功率,是指光模块在一定的误码率(BER=10-12)条件下,接收端组件所能接收的最大输入平均光功率。单位是dBm。
需要注意的是,光探测器在强光照射下会出现光电流饱和现象,当出现此现象后,探测器需要一定的时间恢复,此时接收灵敏度下降,接收到的信号有可能出现误判而造成误码现象。简单的说,输入光功率超过的了这个过载光功率,可能就会对设备造成损害,在使用操作中应尽量避免强光照射,防止超出过载光功率。
接收灵敏度
接收灵敏度是指光模块在一定的误码率(BER=10-12)条件下,接收端组件所能接收的最小平均输入光功率。如果发射光功率指的发送端的光强度,那么接收灵敏度指的就是光模块可以探测到的光强度。单位是dBm。
一般情况下,速率越高接收灵敏度越差,即最小接收光功率越大,对于光模块接收端器件的要求也越高。
接收光功率
接收光功率是指光模块在一定的误码率(BER=10-12)条件下,接收端组件所能接收的平均光功率范围。单位是dBm。接收光功率的上限值为过载光功率,下限值为接收灵敏度的最大值。
综合性能指标
接口速率
传输距离
有哪些常见的光模块种类
| 封装类型 | SFP/eSFP光模块 |
| 基本解释 | SFP(Small Form-factor Pluggable)光模块:小型可插拔。SFP光模块支持LC光纤连接器。 欢迎关注公众号:网络工程师阿龙 eSFP(Enhanced Small Form-factor Pluggable)光模块:增强型SFP,指的是带电压、温度、偏置电流、发送光功率、接收光功率监控功能的SFP,当前所有的SFP都带,所以也就把eSFP都统一叫SFP了 |
| 外观图 |
|
| 封装类型 | SFP+光模块 |
| 基本解释 | SFP+(Small Form-factor Pluggable Plus)光模块:指速率提升的SFP模块,因为速率提升,所以对EMI敏感,壳子上面的裙片做的多了,配对的笼子也相对缩紧了。 |
| 外观图 | ![]() |
| 封装类型 | SFP28光模块 |
| 基本解释 | SFP28(Small Form-factor Pluggable 28)光模块:接口封装大小与SFP+相同,支持速率为25G的SFP28光模块和10G的SFP+光模块。 |
| 外观图 | ![]() |
| 封装类型 | QSFP+光模块 |
| 基本解释 | QSFP+(Quad Small Form-factor Pluggable)光模块:四通道小型可热插拔光模块。QSFP+光模块支持MPO光纤连接器,相比SFP+光模块尺寸更大。 |
| 外观图 | ![]() |
| 封装类型 | CXP光模块 |
| 基本解释 | CXP(120 Gb/s eXtended-capability Form Factor Pluggable Module)光模块:是一种可热插拔的高密并行光模块标准,在发送和接收(Tx/Rx)方向各提供12个通道,仅适用于短距离多模链路。 |
| 外观图 | ![]() |
| 封装类型 | CFP光模块 |
| 基本解释 | CFP(Centum Form-factor Pluggable)光模块:长×宽×高尺寸定义为144.75mm×82mm×13.6mm,是一种高速的可以热插拔的支持数据通信和电信传输两大应用的新型光模块标准。 |
| 外观图 | ![]() |
| 封装类型 | QSFP28光模块 |
| 基本解释 | QSFP28(Quad Small Form-factor Pluggable 28)光模块:接口封装大小与QSFP+相同,支持速率为100G的QSFP28光模块和40G的QSFP+光模块。 |
| 外观图 | ![]() |
| 封装类型 | QSFP-DD光模块 |
| 基本解释 | QSFP-DD((Quad Small Form Factor Pluggable-Double Density))光模块:双密度四通道小型可插拔封装光模块,是QSFP-DD MSA小组定义的一种高速可插拔模块。 |
| 外观图 | ![]() |
单模光模块的中心波长一般是1310nm、1550nm,与单模光纤配套使用。单模光纤传输频带宽,传输容量大,适用于长距传输。
多模光模块的中心波长一般是850nm,与多模光纤配套使用。多模光纤有模式色散缺陷,其传输性能比单模光纤差,但成本低,适用于较小容量、短距传输。
注意:使用长距光模块,其发送光功率一般大于过载光功率,因此需要关注光纤长度,保证实际接收光功率小于过载光功率。如果光纤长度较短,使用长距光模块时需要配合光纤光衰(光纤每单位长度上的衰减值,单位为dB/km)使用,以避免烧坏对端光模块。
一般光模块的中心波长有850nm、1310nm和1550nm三类,中心波长比较单一,我们称该类光为“黑白光”或者“灰光”。
彩色光模块承载了若干不同中心波长的光,所以交集起来是五颜六色的,我们称该类光为“彩光”。
| 分类 | SFP-GE-LH40-SM1310 | SFP-10G-ER-1310 | QSFP-40G-LR4 | QSFP-100G-CWDM4 | QSFP-DD-400G-SR8 |
| 速率 | GE | 10GE | 40GE | 100GE | 400GE |
| 封装类型 | eSFP | SFP+ | QSFP+ | QSFP28 | QSFP-DD |
| 模式 | 单模 | 单模 | 单模 | 单模 | 多模 |
| 中心波长(nm) | 1310 | 1310 | 1271、1291、1311、1331 | 1271、1291、1311、1331 | 850 |
| 颜色 | 黑白光 | 黑白光 | 黑白光 | 彩色 | 黑白光 |
如何看懂光模块的命名

| 标号 | 含义 |
| A | 表示光模块的封装类型,主要有:
|
| B | 表示光模块的速率,主要有:
|
| C | 表示光模块的传输距离类型,其中:
|
| D | 表示光模块的传输距离,单位为km。 |
| E | 表示光模块的器件类别,其中:
|
| F | 表示光模块的中心波长,单位为nm。 |
光模块失效的主要原因及防护措施
光模块的光口暴露在环境中,光口有灰尘进入而污染。
使用的光纤连接器端面已经污染,光模块的光口被二次污染。
带尾纤的光接头端面使用不当,比如:端面划伤等。
使用了劣质的光纤连接器。
光模块在使用前的运输、转移过程中,必须在防静电包装内,不得随意取出,随意摆放。

2.在接触光模块前,必须佩戴防静电手套和防静电手环,安装光器件(含光模块)
时也必须做好防静电措施。
图1-7 防静电手套示意图

图1-8 防静电腕带示意图

说明:严禁为方便安装,光模块从防静电包装被取出随意堆放,不做任何防护,犹如废品回收站。
光模块应用时注意轻拿轻放,防止跌落;
光模块插入时用手推入,不能使用其他金属工具进行;拔出时,先将拉环打开到解锁位置再拉拉环,不能使用其他金属工具进行。

图1-10 光模块安装方法示意图
光口清洁时要使用专用清洁棉棒,不能使用其他金属物质插入光口中。


<< 上一篇
下一篇 >>







